目前电镀电源应用越来越广,人们对其品质要求也越来越高。随着半导体技术的进步,电镀电源逐渐向高频高效化、大功率化发展,使得电镀电源具有更高的功率密度、快速的响应能力以及更小的体积。但常规PWM变换技术是一种硬开关模式,开关损耗大、器件温度过高等严重制约了开关电源工作频率的提高,已经无法满足要求。软开关技术具有降低电力电子器件开关功耗、提高开关频率、降低电磁干扰、改善器件的工作环境等优点,是近10年来国际电力电子领域研究的热点。因而,采用软开关技术研究大功率高频软开关电镀电源是电镀工艺发展的必然。
1 大功率电镀电源软开关技术的分类
大功率高频电镀电源实际上是一种低压大电流的整流装置。通常采用PWM DC—DC移相全桥变换器拓扑。
由于PWM DC—DC移相全桥变换器的超前桥臂只能实现ZVS,而滞后桥臂可以实现ZVS和ZCS,可以将PWM DC—DC移相全桥变换器的软开关方式分为两类:
(1)ZVS方式:零状态工作在恒流模式,超前桥臂和滞后桥臂均实现ZVS,适合于电力MOSFET;
(2)ZVZCS方式:零状态工作在电流复位模式,超前桥臂实现ZVS,滞后桥臂实现ZCS,适合于IGBT。
2 ZVSPWM DC-DC移相全桥变换器
基本ZVS PWM DC—DC移相全桥变换器,用变压器的漏感或原边串联电感和功率管的寄生电容或外接电容来实现零电压开关。它的电路结构如图1所示。它是一种具有优良性能的移相全桥变换器,两个桥臂的开关管均在零电压软开关条件下运行,开关损耗小,而且具有结构简单、电源小型化、高频化的发展趋势。但是移相全桥ZVS变换器存在滞后桥臂ZVS实现比较困难、副边占空比损失和整流桥寄生振荡等问题。针对上述问题,国内外文献提出了各种各样的拓扑电路。

1)实现滞后桥臂ZVS、减少副边占空比丢失
ZVS PWM DC—DC移相全桥变换器的滞后桥臂实现ZVS比较困难,特别是滞后桥臂开关管在轻载下难以实现ZVS,使得它不适合应用于负载大范围变化的场合。为了让滞后臂实现ZVS更加容易,需要增大原边电流。原边电流的增大可以靠增加励磁电流(主变压器加气隙,减小励磁电感),或增大漏感(或外加的谐振电感)来实现。但上述方法均会增加占空比的丢失。可以发现占空比丢失与ZVS软开关条件存在矛盾,所以谐振电感Lr的大小需要折衷选择。
为了实现零电压开关的同时又能减小副边占空比丢失,可采取下列办法:
(1)将移相ZVS变换器中的线性谐振电感改用饱和电感。如图2(a)所示。饱和电感的特性是:当脱离饱和时,表现为一个很大的电感;当其进入饱和状态时,又表现为一个很小的电感。但该电路不足之处就是饱和电感以很高的频率在正负饱和值之间切换,磁芯损耗会很大,温度也会很高。

(2)在滞后臂增加辅助电路改善滞后臂开关管的软开关环境,其基本方法是给滞后臂并联一辅助谐振电路,利用辅助谐振电路中的电感帮助漏感实现滞后臂开关管的零电压开关,使其在任意负载和输入电压范围内实现零电压开关,并且大大减小占空比丢失。图2(b)增加了一个LC电路,漏电感和辅助电路的电感电流同时给并联电容充放电,从而在较宽的负载范围内实现滞后桥臂的ZVS。
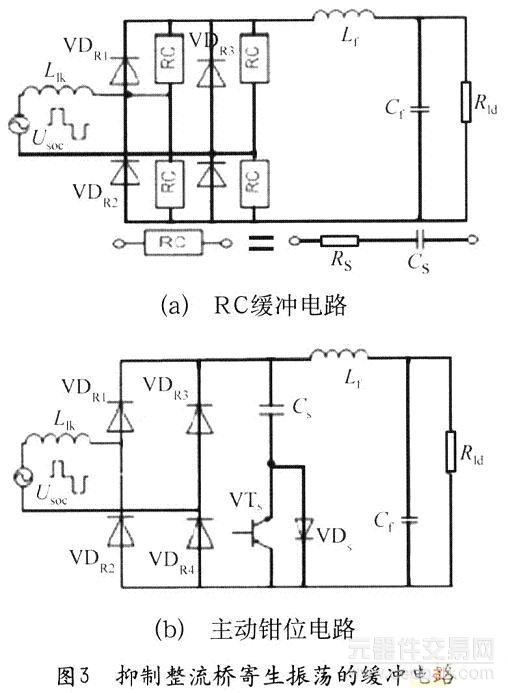
2)抑制整流桥寄生振荡
关于抑制整流桥寄生振荡的缓冲电路,国内外文献提出了各种电路拓扑,下面介绍常用的RC缓冲电路和主动钳位缓冲电路。
(1)RC缓冲电路。在图3(a)中,增加一个由Rs和Cs组成的串联支路分别并联在四个整流管的两端。利用二极管上的并联RC支路起钳位作用,并且电容Cs的电荷都释放在电阻Rs上。因此,这种吸收网络是有损耗的,相当于把整流二极管的关断损耗转移到了RC缓冲电路上,因而不利于提高变换器的效率。
(2)主动钳位缓冲电路。图3(b)是一种主动钳位电路,它由钳位开关管VTs、钳位二极管VDs和较大容量的钳位电容Cs组成。这种缓冲电路也可以将整流桥上的电压钳位在一个适当的电压值。由于该缓冲电路中没有电阻,而且VTs要求是零电压开关,因而没有损耗。但它增加了一个开关管,因而也增加了一套控制电路和驱动电路,也就增加了电路的复杂性。
3 ZVZCS PWM DC-DC移相全桥变换器
利用饱和电抗器Ls和隔直电容Cb所实现的零电压、零电流全桥移相PWM软开关变换电路是ZVZCSPWM电路中应用最广泛的一种。如图4所示,C1和C2分别为功率开关管VTW1和VTW2的并联电容,Lk为变压器的漏电感。它简单、高效、容易实现,而且在很宽的负载变化范围内都能实现软开关,特别适用于以IGBT作为功率器件的中低电压大电流输出的场合。
ZVZCS移移相全桥变换器滞后臂软开关的实现关键在于使原边电流复位。实现电流复位的方法有很多种,可以考虑在变压器原边或副边加辅助电路来实现。
全桥ZVZCS移相变换器按照辅助电路位置分为两类。第一类变换器的辅助电路位于主变压器一次侧,通过引入一个阻断电压源,在续流期间将原边电流复位至零。第二类变换器的辅助电路位于二次侧,通过引入反向阻断电压源并反射到原边,实现续流期间对原边电流的复位。
1)原边辅助电路型ZVZCS典型拓扑原边辅助电路型ZVZCS典型拓扑大致有以下几种:
(1)在原边串联阻断电容和饱和电感。如图4所示。在原边电压过零期间,将隔直电容上的电压作为反向阻断电压源,使原边电流迅速复位,为滞后臂开关管创造零电流开关条件,并利用饱和电感在退饱和区域阻抗极大的特性切断阻断电容反向电流。此种方法应用最广泛,但也存在一些不足,饱和电感的设计和磁性元件的选择比较困难,饱和电感工作在饱和到不饱和的交替中,磁芯发热严重。而且若饱和电感按照最大输入电压设计,在低压输入时,副边占空比丢失较为严重。

(2)在滞后臂开关管支路上串联二极管,以二极管反向阻断特性来阻止电流反向流动。与图4所示原边串联饱和电感的电路相比,图5所示的电路最显著的优点就是没有饱和电感,因而降低功耗,同时占空比丢失减小,也有助于展开占空比。但是这种电路也引入了新的问题,如串联在滞后臂的二极管在大功率变换器中要流过较大电流,其开关虽是ZCS,导通损耗却不可忽略。

(3)原边串联双向有源开关。在原边串联双向有源开关来阻止反电动势形成的反向电流。该电路目前很难得到实际应用。另外,由于有源器件的存在,增加了控制复杂性。

2)副边辅助电路型ZVZCS典型拓扑副边辅助电路型ZVZCS典型拓扑大致有以下几种:
(1)副边加简单辅助网络实现滞后臂ZCS的拓扑,如图6所示。该电路利用两只二极管和一只电容构成的简单辅助电路实 了滞后臂零电流开关,利用副边吸收电容Cs上的电压作为反电动势作用在原边,使得原边环流衰减至0,整流二极管关断,副边吸收电容不再反射到原边,而是对负载供电。因而环流不会反向增加。此电路简单,解决了电流复位和副边整流二极管电压尖峰吸收的问题,且不消耗很大的能量,效率高,占空比损失小,因此该电路具有很高的实用价值。但该电路增加了功率开关管的电流应力,超前臂实现软开关变得困难(或出现超前臂硬开通现象),Cs值选取困难。

(2)利用附加绕组实现滞后臂ZCS的拓扑,提出了一种利用附加绕组的拓扑新思路,如图7所示。该电路在能量传输阶段由附加绕组给钳位电容充电,钳位电容在原边电压下降至低于其上电压时钳住了原边电压,使环流衰减。环流衰减至0后,副边绕组的整流二极管关断,环流不会反向增加。该电路元件较少,但是也存在一些问题。如副边吸收电容不能同时用于副边整流二极管电压尖峰的吸收。而且附加绕组增加了变压器的复杂性,直接限制了该拓扑在大功率场合的应用。

(3)副边有源钳位实现滞后臂ZCS的拓扑,如图8所示。在能量传输时有源开关管VTs导通,电容Cs充电,同时对二极管电压尖峰有钳位作用。超前臂开关管关断后,原边电压下降至低于电容电压,副边有源开关管的反并二极管VDs导通,原边电压被电容钳位。此后工作过程与副边简单辅助网络电路相同。

由于使用了有源器件,与图6所示的采用二极管的电路相比,损耗进一步降低。特别是在低压大功率场合,有源钳位的优势尤为突出。但是应当注意到,损耗的降低是以控制复杂性增加为代价的。
4 结束语
为了进一步提高大功率电镀电源工作频率、效率、减小其体积,本文对比分析了大功率电镀变压器ZVS和ZVZCS PWM DC—DC移相全桥变换器以及各种改进电路的工作原理,探讨了它们之间的差异和各自适用的场合。
通过分析可知ZVS移相全桥电路存在轻负载时滞后臂实现ZVS较困难、占空比丢失与软开关条件矛盾、整流管寄生振荡等缺陷,并针对各缺陷提出了相应的拓扑电路。
ZVZCS移相全桥电路可在宽负载范围内实现软开关,但由于其电流复位需要时间,不易实现高频,且需要改善滞后臂ZCS条件,本文从电源原边或副边加辅助电路两个方面来实现滞后臂ZCS。